Standard Galvanized Danforth Fluke Anchor
Danforth fluke anchors are trusted worldwide for their exceptional holding power and reliable performance. These anchors feature two large triangular flukes set at a 32-degree angle, specifically designed to dig deep into soft seabeds. Made in the USA by Tie Down using high tensile 4130 steel, each anchor combines strength with corrosion-resistant galvanized construction for lasting durability in saltwater environments. Available in sizes from 9 to 25 pounds, these anchors provide holding power ranging from 600 to 1,600 pounds, suitable for boats 17 to 40 feet in length. The lightweight yet sturdy design makes handling and deployment straightforward, while the sharp flukes ensure secure anchoring even in changing tides or currents. Each anchor comes with a lifetime warranty against manufacturing and material defects under normal use. For optimal performance, pair with appropriate chains and shackles using a minimum 5:1 scope ratio, increasing to 7:1 in rougher conditions.
Features:
- Superior Holding Power: Designed to be exceptionally strong and featuring a stainless steel shank, Danforth anchors have sharp flukes that penetrate deeply, ensuring a secure grip while minimizing drag and shifting, even in changing tides or strong currents.
- Lightweight Design: Designed with portability in mind, these fluke anchors are compact and lightweight yet durable. Its construction allows easy handling and deployment, making it ideal for boaters of all experience levels.
- Corrosion-Resistant Construction: The anchor’s galvanized steel offers resistance against corrosion in saltwater environments. This durable finish ensures long-lasting performance, even with regular exposure to harsh marine conditions.
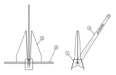
Danforth Anchor Parts
Every Danforth anchor for sale has been manufactured with four main components. Chains, shackles, and other accessories are sold separately. Refer to the diagram below:

- Crown (1): The crown acts as a pivotal point, allowing the flukes to rotate and dig into the seabed. It ensures optimal alignment with the seabed, enhancing holding power.
- Stock (2): The stock stabilizes the anchor, ensuring the flukes are correctly oriented to dig into the seabed, improving holding capacity.
- Flukes (3): Flukes hold securely with wide, flat blades designed to penetrate and grip the seabed. These are critical for high holding power, especially in soft substrates.
- Shank (4): The shank is the primary load-bearing component designed to transmit the pulling force from the vessel to the flukes.
Danforth Anchor Size Chart
Wholesale Marine provides the Danforth fluke anchor in four sizes: 9 lbs, 14 lbs, 16 lbs, and 25 lbs. Our sizing guidelines are based on typical wind conditions, moderate currents, and a minimum 5:1 scope ratio.
We recommend a minimum 5:1 scope ratio, meaning the length of the anchor line should be at least five times the depth of the water. Increase the scope to 7:1 or more for enhanced holding power, especially in rough conditions.
Consult our fluke anchor size chart below or contact Wholesale Marine for professional advice tailored to your boating needs.
|
Part # |
Weight |
Holding Power |
Boat Size |
Chain Size |
Anchor Height (4) |
Stock Width (2) |
Fluke Height (3) |
|
94012 |
9 lbs. |
600 lbs. |
17 to 27 ft. |
3' - 3/16" |
24.00" |
18.25" |
12.00" |
|
94013 |
14 lbs. |
920 lbs. |
27 to 31 ft. |
4' - 1/4" |
28.25" |
21.50" |
14.25" |
|
94014 |
16 lbs. |
1300 lbs. |
31 to 36 ft. |
5' - 5/16" |
31.75" |
24.00" |
16.50" |
|
94015 |
25 lbs. |
1600 lbs. |
36 to 40 ft. |
5' - 5/16" |
35.00 |
26.75" |
19.00" |
Frequently Asked Questions
What type of seabed does the Danforth fluke anchor work best with?
The Danforth fluke anchor performs exceptionally well in soft seabeds. Its sharp flukes are designed to penetrate deeply into these substrates, providing maximum holding power.
How much holding power does this anchor provide?
Depending on your chosen size, your anchor's holding power can range from 600 to 1,600 lbs. For more information, refer to our fluke anchor size chart.
Can this anchor be used for larger vessels or just small to medium-sized boats?
The largest size of this product weighs 25 lbs and is recommended for boats up to 40ft. We offer other suitable anchors for larger vessels. Contact our team for recommendations.
How do I properly set and retrieve this anchor?
To set the anchor, lower it to the seabed and slowly back your boat away while letting out the anchor line until the flukes dig in securely. To retrieve, gently motor over the anchor while pulling up the line, breaking the flukes free from the seabed.
Is this anchor suitable for anchoring overnight or in high winds?
The Danforth fluke anchor is reliable for overnight anchoring in calm to moderate conditions. For high winds or rough seas, ensure proper sizing and consider additional anchoring measures for added security.
